
工礦企業
ACREL-5000能耗監測系統在中新傳媒大廈項目中的應用
摘要:用能監測系統是通過在建筑物、建筑群內安裝分類和分項能耗計量裝置,實時采集能耗數據,并具有監測與分析等功能的軟件和硬件的統稱。具體是在建筑的關鍵節點,安裝市場上技術已經成熟的智能計量儀表,通過計算機網絡技術構建整棟建筑的計量體系,完成整個建筑能耗的實時數據采集、存儲。能耗數據的輸出模式根據現場的實際需求,后期根據使用方的具體要求定制一定的使用界面和報表。現就中新傳媒大廈項目中使用的ACREL-5000能耗監測系統做一簡要介紹。
關鍵詞:中新傳媒大廈 能耗監測 無人值守 智能配電系統 配電自動化
0引言
公共建筑的配電體系、原始的人工抄表,系統維護早已滿足不了當前的管理模式,以及當下的智能化配置要求。供配電體系的智能化,數據化已經成為公共建筑業主,以及物業管理公司的基本要求。通過智能化系統對建筑配電系統的用能實時監測,通過配電系統運行數據的積累,分析,對配電系統實行合理的維護。同時數據的積累也為其后期能耗去向,以及能耗的使用方向提供詳細、準確的數據。為能耗設備升級以及節能措施的制定提供可靠的科學依據,以及準確的數據對比。
ACREL-5000能耗監測系統正是針對以上趨勢而研發的用戶端能耗監測系統。本系統通過對中新傳媒大廈項目變電所進出線回路用能的實時計量、存儲、分析,以表格或圖形的形式來顯示整個配電體系用能以及運作狀況,量化系統的運行狀態,為管理者日常管理,維護提供數據依據。
本文以中新傳媒大廈為例,簡單介紹ACREL-5000能耗監測系統在中新傳媒大廈配電系統中的應用。
1項目介紹
中國新聞社重金打造浦東金橋情景商業綜合體——中新傳媒大廈,北鄰上海自貿區,南接張江高科技園區,西到陸家嘴金融貿易中心,東面是迪士尼樂園,處于經濟金三角的核心位置,區域價值十分突出明顯。
本項目的地下一層設置一座10/0.4kV變配電所,供電容量2X2000kVA。現針對變電所的供配電系統設計一套能耗監測系統實現實時監控。通過實施監測變電所進出線回路的用能數據,搭建變電所的能耗體系,明確建筑的用能去向。ACREL-5000能耗監測系統對智能計量儀表的數據采集、存儲、處理,并以圖形、報表的形式導出,為管理人員提供具體的用電明細。
2用戶需求
本項目中主要是對變電所內的綜保以及相關設備實現實時數據采集以及電能報表的統計,顯示。基本的需求整理分析后分為以下幾個方面:
3設計方案
3.1參考標準
系統的設計滿足以下所列制造和試驗標準:
JGJ/T 16-2015 《民用建筑電氣設計規范》
GBT_50063-2008 《電力裝置的電測量儀表裝置設計規范》
GB/T13730 《地區電網數據采集與監控系統通用技術條件》
GB2887 《計算站場地技術要求》
GB/50198-2015 《監控系統工程技術規范》
DL/T 698.31-2010 《第3.1部分:電能信息采集終端技術規范-通用要求》
DL/T 698.35-2010 《第3-5部分:電能信息采集終端技術規范-低壓集中抄表終端特殊要求》
DL/T 698.41-2010 《第4-1部分:通信協議-主站與電能信息采集終端通信》
DL/T 698.42-2010 《第4-2部分:通訊協議-集中器下行通信協議》
DL/T/814-2013 《配電自動化系統功能規范》
3.2 系統架構設計
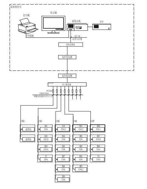
鑒于中新傳媒大廈的建筑規模、性質,以及后續項目的可連帶發展的性質。安科瑞電氣股份有限公司系統部根據用戶的幾點需求以及在相同性質工程中的經驗,對該建筑的智能配電系統的搭建做以下設計:中新傳媒大廈所有監控點位現已安裝智能電力儀表,且均采用標準的Modbus-RTU協議。將現場安裝的智能儀表通過屏蔽雙絞線以手拉手式相連,數據總線直接鋪設至串口服務器,串口服務器連接至主機。變配電所與監控室較遠,其采集器直接放置在變電所內,所有通訊線直接鋪設到采集器處;采集器與主機之間通過光纖傳輸數據。系統示意圖1所示。
圖1
4 系統功能
上位機軟件采用ACREL-5000能耗監測系統,通過軟件進行設備配置、數據庫變量配置、界面設計等,完成了在上位機軟件監控功能。
4.1 功能特點
ACREL-5000能耗監測系統采用全中文界面,操作簡單方便;運行穩定可靠的特點。點擊相應快捷按鈕即可進入相應的系統功能模塊;系統具有一次系統圖顯示,模擬圖顯示和網絡結構圖顯示;系統具有人機界面友好,顯示數據直觀,方便用戶查閱。
4.2 軟件功能:
4.2.1通訊示意圖
通訊示意圖為拓撲圖,顯示系統與儀表的通訊是否正常。通過界面模塊顏色的變化來反映整個系統各個監控點位的運行狀態。界面如圖2所示。

圖2 通訊示意
4.2.2 監測詳圖
監測詳圖反應了整個系統配電回路名稱,相應的配電體系以及回路的主要電參量。通過實時數據的顯示,直觀反映本項目各個監測回路的運行數據,便于管理者實時了解系統運行狀態。界面如圖3所示。
圖3 監測詳圖
4.2.3 參數抄表
參數報表反映了本項目監測回路的在過去某時間點的運行數據,通過當前或者過去某時間點的實時參量數據反映回路狀態。主要的數據包括:三相電壓,三相電流,電能,有功功率,無功功率,功率補償因數,頻率。界面如圖4、圖5所示
圖4參數抄表
圖5電能報表
4.2.4 限值設置
本系統還針對重要回路設計限值設置,便于回路過流時,及時記錄報警信息,為后期事故查詢,維護提供具體的時間以及數據依據。界面如圖6所示
圖6 限值設置
5 結束語
當下建筑能耗的智能化,透明化等要求,促使市場為其提供相應的解決方案。當前主要是通過在建筑的供配電系統即變電所的進出線節點安裝智能儀表,利用計算機網絡集成技術,為客戶提供遠程抄表、數據存儲、數據處理等服務,幫助客戶實時掌握建筑的用能狀況,實現建筑用能的透明化管理。
中新傳媒大廈能耗監測系統實現配電系統數據的實時采集、存儲、顯示、導出。在配電系統的重要節點安裝智能儀表,由此配電系統的實時數據監測體系。系統的設計、安裝、調試的同時,也是同時對配電系統的各項參數進行詳細梳理,核對;通過對現場各個電力參數的核對,從而了解配電體系的用能去向。系統實現對采集數據的分析、處理,實時顯示業主各配電回路的電能使用狀況、負載越限具有彈出報警,并生成各種電能報表、圖形等。系統的安裝便于各項電力參數的采集。管理方通過對數據的分析、研究,制定相應的用能服務計劃。該系統運行安全、可靠、穩定,還為配電系統終端用戶解決配電系統數據集抄,為后期物業管理提供合理的數據依據。同時本項目預留的數據接口,為后期能耗數據對接提供綠色通道。

蘇公網安備 32028102001347號
技術支持:江蘇安科瑞電器制造有限公司 電流傳感器| 多用戶儀表